- Design und Eigenschaften
- Schlüsselkomponenten des Geräts
- 4 Wie ein Anemostat installiert wird
- Sorten
- Bodendiffusoren
- Arten von Diffusoren
- Einsatzort
- Materialien
- Ort
- Anemostat: was ist das?
- Zweck des Produkts
- Bewertung zuverlässiger Anemostaten aus Metall
- BELÜFTUNG AM 150 VRF N
- Airone DVS-100
- EUROPLAST DM 100mm
- Era Anemostat universell abnehmbar
- Klassifikation: Arten und Unterschiede
- Zweckmäßig (Richtung des Luftstroms)
- Zu- und Abluftmodelle
- Nach Material
- Nach Gerät (Lochdesign)
- Nach Aufstellungsort
- Modelle und ungefähre Preise
- Anemostat-Installation zum Selbermachen
- Verdeckter Einbau
- Andere Installationsmethoden
- Tipps der Meister
- Deckenauslass: Installation
- Wenn Form und Abmessungen der Deckenauslässe und Lüftungsrohre übereinstimmen
- Verwendung von Adaptern
Design und Eigenschaften
Anemostat-Design
Also, ein Anemostat - was ist das in Bezug auf das Design? Diese Luftabscheider sind rund, weiß oder silber. Der Durchmesser der Produkte variiert im Bereich von 10 bis 13 cm, eine Besonderheit der Geräte ist ihre kompakte Form, die Verwendung leichter Materialien - verzinkter Stahl, Kunststoff, Aluminiumlegierungen.
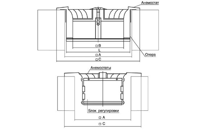
Schlüsselkomponenten des Geräts
Die verstellbare Einheit besteht aus mehreren Komponenten und Funktionselementen:
- Eine Schutzhülle, die nicht nur eine funktionale, sondern auch eine dekorative Rolle spielt.
- Montagekupplung.
- Aufhängevorrichtung.
- Dekorative verstellbare Trennwände (haben die Form von Flanschen).
- Ein Ventil, mit dem Sie die Richtung der Luft einstellen können.
- Endkappe.
Internes Design des Anemostaten
Die Austrittsenden des Produkts bestehen aus einem Metall- oder Kunststoffrahmen und horizontal angeordneten Lamellen. Diese Konstruktion gilt als optimal für die Sauerstoffversorgung des Raums aus der Lüftungsanlage. Zur Montage oder Demontage des Rahmens wird eine Zentrierschraube verwendet. Rohre werden mit Verbindungsschränken mit abgerundeter Form des horizontalen Halses befestigt.
4 Wie ein Anemostat installiert wird
Die Installation eines Steuergeräts ist nicht kompliziert. Die Installation kann sowohl in einer Ziegelwand als auch in einer Gipskartonkonstruktion durchgeführt werden. Spezialisten arbeiten lieber mit einem flexiblen Kanal, der an das Lüftungssystem angeschlossen und mit einem dekorativen Material, Trockenbau, bedeckt ist.

Arbeiten im Rahmen des Hausbaus oder der Wohnungsinstandsetzung sind optimal, wenn ein ungehinderter und vollständiger Zugang zur Gipskartonkonstruktion besteht. Alle Arbeiten werden in 7 Phasen durchgeführt:
- 1. Ein flexibles Kanalsystem wird in Richtung vom Hauptkanal zum ausgewählten Bereich an der Decke oder Wand verlegt.
- 2. Es wird ein rundes Loch gemacht, dessen Durchmesser dem Kanal entspricht. Wofür wird eine spezielle Düse verwendet, wenn sie nicht vorhanden ist, können Sie eine Stichsäge verwenden.
-
3. Ein geeignetes Anemostat-Modell wird ausgewählt.
- 4. Die röhrenförmige Struktur der Vorrichtung wird in dem Loch montiert.
- 5.Der äußere Teil des Kreises wird mit selbstschneidenden Schrauben befestigt und mit Zimmermannsband abgedichtet, bis die Reparaturarbeiten abgeschlossen sind.
- 6. Eine Stützstruktur wird in den Gerätekörper eingesetzt (daran befindet sich eine Schraube mit einer Platte). Es verbindet sich mit einer runden Zierplatte und passt in die Rillen im Inneren des Rohres.
- 7. Eine Platte wird an die Stützanlage geschraubt.

Die Einstellschraube stellt die Menge des in den Raum eintretenden Luftstroms ein (durch Drehen der Schraube im und gegen den Uhrzeigersinn).
Sorten
Auf dem modernen Baumarkt gibt es eine Vielzahl von Diffusoren. Sie bestehen aus zwei Materialien: Kunststoff und Metall (Stahl oder Aluminium). Metallprodukte werden mit einer Vielzahl von Farben lackiert und sind in der Regel um eine Größenordnung teurer als Modelle aus Kunststoff. Es ist sehr selten, Holzdiffusoren zum Verkauf zu finden, sie werden normalerweise auf Bestellung gefertigt. Holzmodelle passen perfekt in das Innere eines Landhauses sowie in Saunen und Bäder.
Diffusoren werden klassifiziert nach:
- Form - rund, rechteckig und quadratisch;
- Zweck - Decke, Boden, Wand;
- Funktionsprinzip - Verdrängen oder Mischen;
- Gerät - extern und intern.
Es ist auch üblich, Diffusoren durch die Größe und Form der Belüftungslöcher zu unterscheiden.
Geschlitzt. Hat normalerweise eine rechteckige Form mit langen und schmalen Löchern. Die Lamellen können direkt oder in einem Winkel platziert werden, wodurch Sie den Luftstrom einstellen können, indem Sie ihn gerade oder in eine bestimmte Richtung richten. Die Lamellen werden unabhängig voneinander eingestellt, einige Schlitzauslässe haben die Möglichkeit, jede Lamelle einzeln einzustellen. Es dient sowohl der Frischluftzufuhr als auch der Altluftabfuhr.Geschlitzte Modelle können sowohl an der Wand als auch an der Decke des Raums installiert werden.
- Scheibenförmig. Dies sind runde Diffusoren. Sie sind ein Rahmen, um den herum ein Kreis befestigt ist. Die Luftzufuhr erfolgt aufgrund des Spalts zwischen Rahmen und Kreis.
- Wirbel. Ausgestattet mit Flügeln, die sich wie ein Ventilator drehen und die Luftmassen perfekt durchmischen. Die Luft, die durch den Wirbeldiffusor strömt, dreht sich zu einer Spirale und die Geschwindigkeit ihrer Bewegung nimmt erheblich zu. Werden in Räumen aufgestellt, in denen ein schneller Luftwechsel erforderlich ist (z. B. Badezimmer oder Toilette). Um Zugluft zu vermeiden, sind alle Vortex-Modelle mit einer statischen Druckkammer ausgestattet
- Fan. Vertreten durch einen ganzen Komplex von Diffusoren, die zu einem System kombiniert sind.
Diffusoren mit niedriger Geschwindigkeit heben sich ab. Sie arbeiten nach dem Prinzip, alte Luft aus dem Raum zu vertreiben. Saubere Luft tritt mit niedriger Geschwindigkeit ein, was bedeutet, dass die Gefahr von Zugluft minimal ist. Außerdem unterscheidet sich die Frischlufttemperatur nur um wenige Grad, was diese Diffusoren zu einem der angenehmsten macht. Sie können sowohl an der Wand als auch am Boden montiert und eingebaut werden. Weit verbreitet in Museen, Sportanlagen, Konzertsälen, Kinos. Sehr oft in Treppenläufen und Stufen montiert.
Deckenauslässe sind das beliebteste Modell, das unter verschiedenen Bedingungen, einschließlich industrieller, weit verbreitet ist. Bodenartige Luftmassenverteiler werden meist in Kombination mit Heizkörpern oder ganzen Heizsystemen eingesetzt, die auf dem Boden montiert werden.
Wandmodelle werden sehr selten verwendet, da in diesen Flugzeugen normalerweise gewöhnliche Lüftungsgitter installiert sind.
Bodendiffusoren
Bodenlüftungsgitter verdienen besondere Aufmerksamkeit. Sie werden dort verbaut, wo sie am wenigsten mechanischen Belastungen ausgesetzt sind und bestehen zudem ausschließlich aus Metall. Es ist verboten, Bodenauslässe direkt unter dem Arbeitsplatz zu platzieren. Das Lüftungsgerät muss mindestens 40 cm davon entfernt sein. Die Luftzufuhr erfolgt aufgrund eines statischen Überdrucks, der sich im unterirdischen Raum oder in einer speziell dafür vorgesehenen Kammer bildet. Zu den Vorteilen dieses Typs gehören: extrem niedriger Geräuschpegel, gleichmäßige Temperaturverteilung im gesamten versorgten Bereich. Am häufigsten wird diese Art von Diffusor zur Belüftung von Räumen in Theatern, Auditorien, Konzertsälen usw. verwendet.
Arten von Diffusoren
In einem Geschäft oder Unternehmen, das Lüftungsgeräte verkauft, wird Ihnen eine große Auswahl an Diffusoren mit unterschiedlichem Aussehen und unterschiedlichen Materialien angeboten. Es ist mehr oder weniger einfach, sich für Materialien zu entscheiden - wählen Sie, was Ihnen am besten gefällt oder was für die Betriebsbedingungen am besten geeignet ist. Wenn die Lüftungskanäle aus Metall bestehen, ist es logisch (wenn auch nicht notwendig), Metallgitter zu verwenden. Sie sind verzinkt, aus Edelstahl, es gibt gewöhnlichen Stahl, aber mit Pulverfarbe lackiert.
Wenn die Lüftungskanäle aus Kunststoffrohren bestehen, passen sie besser zu Kunststoffdiffusoren. Hier scheint alles klar zu sein. Da der Rest der Parameter etwas komplizierter ist, lassen Sie es uns herausfinden.

Das sind alles Diffusoren.
Einsatzort
Diffusoren werden nach ihrem Zweck unterteilt in:
- liefern;
- Auspuff;
- universell (Zu- und Abluft);
- kombiniert.
Die Namen sprechen für sich: Sie werden in verschiedenen Teilen des Lüftungssystems verwendet. Zu- und Abluft unterscheiden sich in Richtung und Position der Lamellen und Trennwände. Es gibt keinen allzu großen Unterschied, nur einige funktionieren besser für die Luftausgabe, andere für die Eingabe. Grundsätzlich kann man die Zuluft auf die Haube stellen oder umgekehrt. Die Katastrophe wird nicht passieren, aber die Leistung der Lüftungsanlage kann leicht sinken. In Privathäusern und Wohnungen ist der Unterschied aufgrund der geringen Produktivität nicht zu bemerken. Spürbare Veränderungen können nur in der Hochleistungsbeatmung erfolgen.
Universalauslässe lassen die Luft in beide Richtungen gleichmäßig durch. Sie können sie also bedenkenlos einbauen. Aber wie üblich funktionieren "Kombis" etwas schlechter als speziell entwickelte Modelle.

So funktioniert ein verstellbarer Luftauslass – er verändert Richtung und Form des Luftstroms
Erläuterungen sind vielleicht nur bei kombinierten Modellen erforderlich. Sie unterscheiden sich darin, dass ein Teil des Geräts für den Zufluss und ein Teil für den Abfluss arbeitet. Dementsprechend sind sie mit verschiedenen Teilen des Lüftungssystems verbunden. Das heißt, Sie können nur einen Universaldiffusor an der Decke installieren und müssen ihn an zwei Zweige anschließen - Zu- und Abluft. Die Verbindungsmethode wird in jedem spezifischen Modell beschrieben, im Allgemeinen macht es keinen Sinn, darüber zu sprechen.
Materialien
Diffusoren bestehen aus:
- Kunststoffe;
- Aluminium;
- Stahl (glatt oder rostfrei).
In Privathäusern und Wohnungen wird am häufigsten Kunststoff verwendet. Für diese Situation ist dies die beste Option. Zu einem relativ niedrigen Preis haben sie eine hervorragende Leistung, lange Lebensdauer, einfache Wartung und sind nicht korrosionsanfällig.Sie fügen sich nahtlos in Kunststoff-Luftkanäle ein, die immer häufiger in Privathaushalten zum Einsatz kommen.

Deckendiffusor kann aus Kunststoff, Metall, mit Holzelementen hergestellt werden
Metalldiffusoren werden in Industrieanlagen verwendet, in denen nur nicht brennbare Materialien verwendet werden können. Sie kosten deutlich mehr, wiegen mehr, was die Installation erschwert.
Es gibt auch Diffusoren, deren äußerer Teil (Gitter) aus Holz besteht. Solche Geräte passen ideal in das Innere eines Holzhauses.
Ort
Nach Standort sind Diffusoren:
- Decke;
- Mauer;
- Boden.

Je nach Installationsmethode sind Diffusoren Decke (die meisten), Wand und Boden
Meistens sieht man einen Deckendiffusor. Sie werden in 95 % der Lüftungssysteme sowohl in Zuluft- als auch in Abluftsystemen eingesetzt. Hauptsächlich, weil die Luft im oberen Teil des Raums gemischt wird, ohne einer Person viel Unbehagen zu bereiten. Und auch, weil es mit der Einrichtung von Zwischendecken einfacher ist, ein Lüftungssystem herzustellen, wenn es vorher einfach nicht existierte. Meistens werden die Geräte an der Hauptdecke befestigt und in die Spann- / Zwischendecke wird ein Loch ausgeschnitten, das vom Gitter abgedeckt wird.
Manchmal erfolgt die Zwangsbelüftung über den Keller. Installieren Sie dann Bodendiffusoren. Dieses Phänomen ist sehr selten.
Noch seltener kommen Wanddurchlässe zum Einsatz. Es gibt nicht viele Situationen. Zum Beispiel in Wohnungen nach dem Austausch von Fenstern durch Kunststofffenster. In diesem Fall ist eine Frischluftzufuhr erforderlich, die nur durch das Bohren eines Lochs in der Wand und die Installation eines Diffusors bereitgestellt werden kann. Oder mit fehlender Frischluftzufuhr und mangelnder Bereitschaft, das Versorgungssystem zu bauen / umzubauen.
Außerdem wird er über Deckendiffusoren sprechen, da dies die Mehrheit ist und alle anderen noch gesucht werden müssen - sie werden normalerweise auf Bestellung geliefert.
Anemostat: was ist das?
Im Wesentlichen ist ein Anemostat Analog eines verstellbaren Lüftungsgittersanders gemacht.
In das Rohr wird ein Distanzstück eingesetzt, an dem die Einstellschraube gehalten wird.
Am Ende der Schraube befindet sich eine Platte: ein runder Schild, der sich senkrecht zur Oberfläche bewegen kann, in die der Anemostat eingebaut ist. Die Platte ist beweglich (da sie auf einer Schraube montiert ist) und kann sich entlang des Anemostat-Rohrs hin und her bewegen.

Anemostat-Gerät (Rückansicht)
Wenn sich der Schild ausdehnt (d. h. wenn eine Person die Platte gegen den Uhrzeigersinn dreht), vergrößert sich der Spalt zwischen ihm und den Rohrwänden und der Luftzufluss (oder -abfluss) nimmt zu. Wenn sich der Schild hineinbewegt (die Platte dreht sich im Uhrzeigersinn), nimmt das Loch ab und die Luftdurchlässigkeit durch den Anemostat nimmt ebenfalls ab.
Einige Versorgungsmodelle haben möglicherweise nicht 1, sondern 2 Platten. In diesem Fall hat einer von ihnen einen größeren Durchmesser und ist in Form eines konkaven Kreises ausgeführt. Die zweite - hat eine Standardform (Platte) und befindet sich innerhalb des Kreises. Ein solches Gerät verteilt die Luft besser im Raum, dies kann jedoch nicht als allzu schwerwiegender Vorteil bezeichnet werden.
Der Hauptunterschied zw Anemostat und Diffusor - die Fähigkeit des Anemostaten, die Menge der vorbeiströmenden Luft zu regulieren (dies ist bei Diffusoren nicht möglich). Außerdem können Diffusoren sowohl rund als auch quadratisch sein, während Anemostaten nur einen runden Körper haben.
In Innenräumen fällt das Produkt praktisch nicht ins Auge, da es sich in den oberen Teilen des Raums befindet.Meistens ist dies die Decke, seltener der obere Teil der Wand. An der Oberfläche (nach Abschluss der Installations- und Endbearbeitungsarbeiten) sieht es aus wie ein kleiner Kunststoff- (oder Metall-) Kreis.

Anemostat in der Decke im Zimmer
Die Farbe des Produkts kann beliebig sein. Am häufigsten werden weiße (oder metallische) Anemostaten im Handel angeboten. Wenn Sie möchten, können Sie das Produkt mit Farbe in einer beliebigen Farbe versehen, damit es der Farbe des Innenraums entspricht.
Zweck des Produkts
Das Produkt kann in Systemen verwendet werden:
-
Belüftung;
-
Konditionierung;
-
Luftheizung.
Der Anemostat kann in Räumen aller Art eingesetzt werden - sowohl in Wohn- als auch in Industrie-, öffentlichen oder sanitären Einrichtungen.
Bei den oben genannten Systemen ist das Anemostat führt die folgenden Funktionen aus:
-
Verteilung des Luftstroms.
-
Stufenlose Einstellung der Menge der vorbeiströmenden Luft.
-
Dekorative Funktion: Abdeckung der Öffnung des Lüftungskanals.
Der erste Punkt ist in Versorgungssystemen relevant: Die Form der "Platte" trägt dazu bei, dass die Luft nicht in eine Richtung, sondern in einen kontinuierlichen Strom geleitet wird. Es fließt um den Schild (Platte) herum und breitet sich entlang der Oberfläche aus. Dies sorgt für eine gleichmäßigere Luftdurchmischung und erzeugt keine starken Luftströmungen im Raum.
Das ist interessant: Lüftung im Keller, Garage - so geht's Do-it-yourself-Haube mit einem oder zwei Rohren
Bewertung zuverlässiger Anemostaten aus Metall
BELÜFTUNG AM 150 VRF N

Ein hervorragendes Gerät mit einer Wohnfläche von 0,009 Quadratmetern. m. Sorgt für eine gute Luftzirkulation in Innenräumen. Das Produkt kann an der Decke installiert werden, was die Bedienung vereinfacht. Durch die gute Form verteilt sich die Luft gleichmäßig im Raum.Das Gehäuse besteht aus langlebigem Edelstahl, wodurch es möglich ist, das Gerät in einem Raum mit geringer Luftfeuchtigkeit aufzustellen, beispielsweise in der Küche.
Die Anpassung ist reibungslos und nimmt keine Zeit in Anspruch. Für mehr Komfort umfasst das Design ein rundes Abzweigrohr mit verschiedenen Durchmessern, das eine gute und dauerhafte Verbindung zu den Luftkanälen bietet. Die Fixierung erfolgt durch Distanzbeine und selbstschneidende Schrauben.
Die durchschnittlichen Kosten betragen 950 Rubel.
Belüftungsanemostat VENTS AM 150 VRF N
Vorteile:
- Festigkeitseigenschaften;
- Korrosionsbeständigkeit;
- Gleichmäßige Verteilung;
- Bietet eine qualitativ hochwertige Zirkulation;
- Hohe Lebensdauer.
Mängel:
- Gewicht;
- Preis.
Airone DVS-100

Ein hochwertiges Gerät, das zur effektiven Verteilung der Luftmassen über die gesamte Fläche beiträgt. Das Produkt lässt sich einfach an der Decke montieren oder an der Wand befestigen, während die Anpassung reibungslos und ohne Zeitaufwand erfolgt. Die Form des Produkts ist universell, was für die meisten Innenräume geeignet ist. Oben drauf gibt es eine spezielle Lackierung.
Das Gehäuse besteht aus Stahl, der oben mit einem Schutzpulver überzogen ist. Dies verringert die Korrosionsgefahr und verhindert eine schnelle Verschlechterung der Produkte. Damit die Installation keine Zeit in Anspruch nimmt, hat der Hersteller das Gerät mit einer Kupplung ausgestattet, die für einen festen und sicheren Sitz am Kanal sorgt.
Durchschnittskosten: ab 270 Rubel.
Belüftungsanemostat Airone DVS-100
Vorteile:
- Einfache Einstellung;
- Stärke;
- Kostengünstig;
- Effizienz;
- Hohe Lebensdauer;
- Verlässlichkeit;
- Einfach zu installieren.
Mängel:
EUROPLAST DM 100mm

Abgasanemostat, der sich durch Zuverlässigkeit und Langlebigkeit auszeichnet. Es besteht aus Stahl, der mit einer speziellen Schutzschicht überzogen ist, die die Festigkeitseigenschaften und Zuverlässigkeit erhöht. Es kann sowohl in Wohnräumen, als auch in Badezimmern und Sanitäranlagen installiert werden. Für mehr Komfort hat der Hersteller das Produkt mit einer Luftstromeinstellung ausgestattet. Die Installation kann auf fast jeder Oberfläche durchgeführt werden.
Der Einbaudurchmesser beträgt 100 mm. Verkauft in weiß. Stahl verschlechtert sich nicht bei längerem Gebrauch und kann plötzlichen Temperaturänderungen standhalten.
Lüftungsanemostat EUROPLAST DM 100mm
Vorteile:
- Für jedes Interieur geeignet;
- Niedriger Preis;
- Hohe Lebensdauer;
- Stärkeindikatoren;
- Effizienz.
Mängel:
Era Anemostat universell abnehmbar

Ein zuverlässiges Gerät, das eine gute Verteilung der Luftmassen garantiert. Die Installation nimmt nur ein Minimum an Zeit in Anspruch, da der Hersteller das Gerät mit hochwertigen Abstandsbeinen ausgestattet hat. Das Produkt kann nicht nur in Wohngebäuden, sondern auch an Orten mit erwärmter Luft installiert werden. Daher ist das Produkt ideal für den öffentlichen, industriellen und privaten Gebrauch.
Der äußere Teil besteht aus massivem Stahl und ist mit Polymer-Emaille beschichtet, was die Festigkeit erhöht.
Durchschnittskosten: ab 320 Rubel.
Ventilation Era Anemostat universell abnehmbar
Vorteile:
- Externe Ausführung;
- Universelle Anwendung;
- Kleiner Preis;
- Geeignet für den Einsatz an Orten mit erhitzter Luft;
- Haltbarkeit;
- Effizienz.
Mängel:
Klassifikation: Arten und Unterschiede
Produkte können sich in einer Reihe von Merkmalen und Eigenschaften unterscheiden.
Werfen wir einen Blick auf die verfügbaren Optionen unten.
Zweckmäßig (Richtung des Luftstroms)
Diffusoren sind:
-
Liefern.
-
Auspuff.
-
Universal.
Der Unterschied zwischen ihnen liegt im Neigungswinkel der Schaufeln.
Zu beachten ist, dass die Produkte hauptsächlich in Zuluftanlagen, seltener in Abluftanlagen eingesetzt werden.
Zu- und Abluftmodelle
Getrennt davon sollten die Zu- und Abluftdiffusoren erwähnt werden, die gleichzeitig sowohl für die Abluft- als auch für die Zuluftlüftung installiert werden können. Solche Modelle befinden sich an den Decken und haben eine rechteckige oder quadratische Form.
An den Seiten - es gibt Schlitze, die von der Mitte des Diffusors weg gerichtet sind. Durch sie gelangt Luft in den Raum.
In der Mitte befinden sich Löcher zum Entfernen von Luft (Auspuff).
Aufgrund der unterschiedlichen Richtung der Luftströmungen (Luft wird vertikal in der Mitte angesaugt und zugeführt - an den Seiten und zu den Seiten gerichtet) vermischen sie sich nicht miteinander.
Nach Material
Der Belüftungsauslass kann aus folgenden Materialien bestehen:
-
Kunststoff. Ein Kunststoffdiffusor ist billiger und leichter.
-
Metall. Metallprodukte sind normalerweise entweder Stahl oder Aluminium. Um die Lebensdauer zu verlängern und das „Erscheinungsbild“ zu verbessern, wird die Oberfläche der Produkte mit Farbe bedeckt. Im Vergleich zu PVC sind Metallmodelle teurer.
Nach Gerät (Lochdesign)
Je nach Art der Löcher passiert der Diffusor:
-
geschlitzt. Es hat einen rechteckigen Rahmen, in den mehrere lange schmale Löcher geschnitten sind. In diesem Fall können die Lamellen geneigt sein (dann wird die Luft in eine bestimmte Richtung geleitet) oder im rechten Winkel zum Rahmen angeordnet sein (dann strömt die Luft in einem geraden Strahl aus dem Diffusor). Gut für ihre Unsichtbarkeit - solche Produkte passen gut in den Innenraum und fallen nicht ins Auge.Bei einigen Modellen lässt sich die Neigung der Lamellen verstellen, sowohl für alle Jalousien auf einmal als auch für jede einzeln.
-
Düse (Strahl). Versorgt Luft mit einem kontinuierlichen Strahl, wodurch sie weiter strömt. Es wird normalerweise in den Decken großer Räume (Konzertsäle, Turnhallen, Industrieräume, Theater, Galerien, Lagerhäuser, Einkaufszentren) verwendet. Bei einigen Produkten kann die Neigung und Richtung der Düse angepasst werden.
-
Tellerförmig (in der Tat - der gleiche Anemostat). Es hat einen runden Rahmen, an dem in geringem Abstand ein flacher (oder konvexer oder konkaver) Kreis befestigt ist. Die Luft strömt zwischen dem Kreis und dem Rahmen und verteilt sich entlang der Oberfläche (Decke).
-
Wirbel. Die Form der Produkte kann rund oder quadratisch sein. Die Position der Fensterläden ähnelt den Flügeln eines Ventilators. Mit diesem Design können Sie die Luft im Raum effektiver mischen.
-
Fan. Ein rundes Produkt, das aus mehreren Diffusoren mit unterschiedlichen Durchmessern besteht, die zu einem verbunden sind.

Universal-Diffusor aus Kunststoff
Die Form des Körpers (Rahmen) kann sein:
-
Runden.
-
Rechteckig.
-
Quadrat.
Nach Aufstellungsort
Je nach Standort des Produkts gibt es
-
Decke. Die Deckenmontage ist die häufigste Option.
-
Boden. Sie werden normalerweise für Heizgeräte verwendet, die unter dem Boden verlegt werden.
-
Wand. Sie werden äußerst selten verwendet, da gewöhnliche Lüftungsgitter normalerweise an den Wänden montiert sind.

Schlitz-Deckenauslass
Modelle und ungefähre Preise
Als Referenz finden Sie hier die ungefähren Preise, zu denen Sie Produkte kaufen können:
-
Rund, Aluminium, Zu- und Abluft, Durchmesser - 10 / 200 mm: ca. 110 / 220 Rubel.
-
Rund, Kunststoff, Zu- und Abluft, Durchmesser - 200 mm: ca. 180 Rubel.
-
Rund, Edelstahl, Zu- und Abluft, Durchmesser - 100 mm: 700-800 Rubel.
-
Düse, Aluminium, Durchmesser - 100 mm: ca. 1500 Rubel.
-
Quadratisch, Kunststoff, 150 x 150 mm: etwa 600 Rubel.
-
Quadratisch, Kunststoff, 600x600 mm: ca. 2200 Rubel.
-
Geschlitzt (rechteckig), Kunststoff, 500x100 mm: ca. 1200 Rubel.
Beliebte Hersteller auf dem russischen Markt:

-
Arktos (RF).
- Europlast (Lettland).
- Airone (RF).
-
Ära (RF).
- Systemair (Schweden).
-
Lüftungsschlitze (Ukraine).
-
Vanvent (RF).
Anemostat-Installation zum Selbermachen
Die Installation von Geräten erfolgt meistens in Lüftungssystemen, die hinter abgehängten Decken oder Spanndecken verborgen sind. Wird der starre Luftkanal auf die Oberkante der Wand gebracht, erfolgt die Montage an der Wand. Die Effizienz der Luftverteilung hängt nicht von der Installationsmethode des Anemostaten ab.
Verdeckter Einbau
Bei der Installation müssen die Strukturelemente des Anemostaten parallel zum Lüftungskanal angeordnet sein, in dem er installiert ist. Es ist besser, dies während des Baus eines Hauses oder während einer Generalüberholung zu tun, damit der Zugang zum Lüftungssystem bequem ist.
Arbeitsauftrag:
- Vom Lüftungskanal (falls nicht direkt in diesen eingebaut) wird ein flexibler Luftkanal zum Einbauort des Anemostaten geführt.
- In die Decke wird ein rundes Loch gemacht. Wenn es aus Trockenbau besteht, erfolgt dies mit einer elektrischen Stichsäge, wenn es aufgehängt ist, wird ein spezieller Montagering verwendet.
- Überprüfen Sie noch einmal, ob der Aufsetzdurchmesser des Geräts mit dem Loch übereinstimmt, in dem es installiert ist. Schließen Sie dann das Anemostat-Rohr und den Lüftungskanal an.
- Der äußere Teil des Kreises wird mit Klebstoff oder selbstschneidenden Schrauben befestigt.
- Bei der Installation von Geräten mit elektrischer Steuerung die Leitung verlegen und den Schalter montieren.
- Die letzte Stufe wird bestanden, nachdem alle Abschlussarbeiten abgeschlossen sind. Der Stützteil des Geräts wird in das Rohr eingesetzt und an einem dekorativen Kreis befestigt.
- Installieren Sie die Platte und befestigen Sie die Einstellschraube.
Andere Installationsmethoden
Wenn das Gerät über spezielle Montageflansche verfügt, erfolgt die Installation auf andere Weise. In diesem Fall reicht es aus, die Anemostat-Flansche an das Luftkanalrohr anzudocken und das Gerät mit Schrauben zu befestigen.
Tipps der Meister
Soll der Anemostat elektrisch gesteuert werden, wird vor Abschluss der Arbeiten eine Stromleitung verlegt, um ihn mit Strom zu versorgen. Vergessen Sie bei der endgültigen Installation des Geräts nicht, es mit Strom zu versorgen.
Wenn das Gerät zuerst am Kanal befestigt werden muss, wird der Hauptkörper installiert. Dann wird das Loch verschlossen, damit der bei der Reparatur entstehende Staub nicht dorthin gelangt. Nach Abschluss der Endbearbeitung wird eine Platte mit einem Kontrollmechanismus und dekorativen Elementen montiert.
Trotz eines relativ einfachen Geräts ist ein Anemostat ein hochfunktionales Gerät, das die Leistung jedes Belüftungssystems verbessert. Unabhängig von der Art ermöglicht es eine einfache und einfache Regulierung des Luftstroms und sorgt für die erforderliche Temperatur und Belüftung in den einzelnen Räumen. Das Gerät hilft, verschmutzte Luft in Raucherbereichen sowie in Bereichen mit viel Rauch und stechenden Gerüchen effektiv zu entfernen.
Deckenauslass: Installation
Es gibt zwei Möglichkeiten, Diffusoren an Lüftungskanäle anzuschließen: direkt oder über einen Adapter (Plenum).Die zweite Option ist korrekter, erfordert jedoch einen größeren Abstand zwischen der Basis und der dekorativen Decke.
Wenn Form und Abmessungen der Deckenauslässe und Lüftungsrohre übereinstimmen
Um den Deckenauslass direkt mit den Lüftungsrohren (Bögen) zu verbinden, wird am Installationsort ein T-Stück/Verteiler in das Lüftungsrohr gelegt. In den freien - dritten - Ausgang und das Gerät stellen.
Ein Loch direkt in das Rohr zu schneiden, um es zu installieren, ist die falsche Entscheidung. Der Körper ragt über das Rohr hinaus, was die Luftbewegung behindert, die Leistung des Systems sinkt, mit der Zeit bildet sich immer noch ein Staubpfropfen, der das Lumen im Allgemeinen blockieren kann. Im Allgemeinen sollte dies vermieden werden.
Es ist notwendig, Bögen vom Hauptrohr auszuwählen, damit sie bequem an Diffusoren angeschlossen werden können. Es ist nicht schwierig, einen runden Diffusor an einen runden Auslass des Kanals und einen rechteckigen Diffusor an einen rechteckigen Auslass anzuschließen
Es ist auch wichtig, dass ihre Größen übereinstimmen. Diese einfache Wahrheit muss bei der Erstellung eines Systems, der Auswahl von T-Stücken oder der Herstellung von Biegungen mit den entsprechenden Parametern beachtet werden.

Passen Form und Größe zusammen, ist die Montage eines Deckenauslasses kein Problem
Diffusoren gleicher Größe werden durch einfaches Einstecken in die Lüftungskanäle eingebaut. Modelle mit geringem Gewicht und Abmessungen können mit einem Dichtmittel (silikonneutral) an der Box befestigt werden. So werden in der Regel Modelle mit rundem Sockel befestigt.
Für abgehängte Decken verschiedener Art (Gipskarton, Kunststoff, Armstrong) hat ein spezielles Befestigungssystem entwickelt - Clip in. Es besteht aus Abstandshaltern, wie sie bei Deckeneinbauleuchten zu sehen sind.
Massivere quadratische / rechteckige Modelle werden mit selbstschneidenden Schrauben an den Wänden der Box befestigt oder an der Decke aufgehängt. Die erste Option ist einfacher, aber es ist besser, sie nicht zu verwenden, da sich Staub an der hervorstehenden Schraube der selbstschneidenden Schraube ansammelt. Es sei denn, die Konstruktion sieht spezielle Vorsprünge für Befestigungselemente vor. Andernfalls bildet sich im Laufe der Zeit an der Stelle, an der die selbstschneidende Schraube herausragt, ein fester Stopfen, der den Luftdurchgang behindert.

Beispiel für die Verwendung eines Adapters - ein runder Deckenauslass wird an einen rechteckigen Lüftungskanal angeschlossen
Wenn der Auslass aus Wellpappe besteht oder alles „richtig“ gemacht werden soll, werden schwere Koffer an Bolzen oder Aufhängern von der Decke abgehängt.
Verwendung von Adaptern
Adapter oder Plenen helfen, ein so unangenehmes Phänomen wie Zugluft zu vermeiden. In diesem Behälter findet eine gleichmäßige Umverteilung der Luft statt, die gleichmäßig über die gesamte Oberfläche des Rostes strömt. Diese Geräte haben jedoch einen erheblichen Nachteil: Sie "stehlen" die Höhe der Decke. Modelle mit Seitenanschluss sind kleiner, nehmen aber dennoch ausreichend Platz ein.

Arten von Adaptern für Lüftungsdeckenauslässe
Meistens ist eine statische Druckkammer ein Parallelepiped, an dessen Boden ein Diffusor angebracht ist. Von oben oder seitlich gibt es einen Ausgang zum Anschluss eines Entlüftungskanals. Es kann jede gewünschte Form haben: Kreis, Quadrat, Rechteck, Oval.
Es gibt Adapter:
- Mit integriertem Drehventil. Wenn das Diffusormodell keine Anpassung vorsieht, kann dies mit einem Adapter erfolgen.
- Mit herausnehmbarem Filter. Sie ermöglichen Ihnen auch, die einströmende Luft zu reinigen.
- Mit Luftstromteiler. Dies ist ein Blech mit einer kleinen Zelle.Montiert an leistungsstarken Versorgungssystemen ermöglicht es Ihnen, den Luftstrom gleichmäßig über die gesamte Oberfläche des Gitters zu verteilen. .
Statische Druckkammern für Lüftungsauslässe werden meistens aus verzinktem Stahl hergestellt. Blechdicke - 0,5-0,8 mm. Es gibt Firmen, die das Gerät nach Ihren Parametern herstellen. Ebenfalls im Angebot sind Standardadapter - für Standardlösungen. Sie können aus Stahl (verzinkt, rostfrei) oder Kunststoff bestehen.

Kunststoffadapter passen in Sicken oder Kunststoffluftkanäle
Bei Bedarf wird die statische Druckkammer mit einer Isolierung ummantelt. Dies ist notwendig, damit beim Zusammenwirken der warmen Oberfläche des Adapters und der kalten Luft kein Kondenswasser darauf fällt.

Eine Möglichkeit, einen Adapter für einen Belüftungsdiffusor zu installieren
Wenn der Diffusor über einen Adapter angeschlossen ist, besteht die Hauptaufgabe darin, dieses Gerät zu sichern. Wenn es sich um eine abgehängte Decke handelt, können Sie die Kamera an den Profilen montieren. Im Falle einer Spanndecke müssen Sie sie an der Hauptdecke aufhängen. Die Methoden sind bekannt: Nieten oder perforierte Aufhänger.
















































