- LED-Lampen - Gerätemerkmale
- Warum blinkt die ausgeschaltete Energiesparlampe?
- Beleuchtung am Schalter
- Verkabelungsprobleme
- Lampe von schlechter Qualität
- Warum leuchtet oder blinkt die Lampe?
- Nebenschlusswiderstand
- Eigenschaften der LED-Lampe
- Die Wirkung einer brennenden Glühbirne nach dem Ausschalten
- Die Hauptursachen des Problems
- Kontaktoxidation
- Lockerung einsetzen
- Nichtübereinstimmung der Lampenleistung mit den Kontakten
- Schlechte Qualität der Kontakte und Platten
- Andere Ursachen für Kontaktfehler
- Alte elektrische Leitungen
- Störungen im Stromversorgungssystem
- Beleuchteter Schalter
- Wie zu beseitigen
- Entfernen der LED-Anzeige (Neon).
- Installieren eines zusätzlichen Widerstands (Shunt-Widerstand)
- Verwendung einer Glühlampe als Shunt
- Welche Probleme verursacht induzierte Spannung?
- Merkmale zum Zerlegen des Geräts und zum Reinigen von Kontakten
- Wenn das LED-Licht schwach wird
- Die LED-Lampe begann aufgrund der niedrigen Spannung schwach zu leuchten
- Natürlicher Abbauprozess von LEDs
- Die LED-Lampe leuchtet aufgrund falscher Leistungsauswahl schwach
- Leuchte mit falscher Montage oder minderwertigen Komponenten
- Eigenständige Suche nach der Störungsursache
- Blinken im geöffneten Zustand des Schalters
- Die Hauptgründe für die Arbeit im Notbetrieb
- Flackern aufgrund der Hintergrundbeleuchtung des Schalters
- Blinken wegen Netzspannung
- Vorhandensein von Leckstrom
- Problem durch Verkabelung
- Schlechte Steckdose
- Durch Schalter
LED-Lampen - Gerätemerkmale
LED-Lampen sind sehr beliebt und gefragt, sie ersetzen nach und nach ähnliche Geräte mit einer Glühwendel vom Markt. Trotz der erheblichen Kosten tendieren viele Wohnungseigentümer zum Kauf von Diodenlampen, da diese eine deutlich längere Lebensdauer, Effizienz und Zuverlässigkeit aufweisen.
Im Vergleich zu Glühlampen ist der Aufbau von Diodengeräten etwas komplizierter. Lassen Sie uns die Hauptelemente hervorheben und ihren Zweck beschreiben:
- Basis - aus Messing und mit Nickel beschichtet, was Korrosion verhindert und einen zuverlässigen Kontakt mit der Patrone fördert.
- Die Polymerbasis des Basisteils ist mit Polyethylenterephthalat beschichtet, um das Instrumentengehäuse vor elektrischem Schlag zu schützen.
- Treiber - wird nach dem Schema eines galvanisch getrennten Modulators eines elektrischen Stromstabilisators ausgeführt. Der Hauptzweck des Treibers besteht darin, auch bei Netzspannungsschwankungen einen stabilen, unterbrechungsfreien Betrieb zu gewährleisten.
- Der Kühler besteht aus einer eloxierten Aluminiumlegierung. Es wird für die effektive Entfernung von Wärmeenergie aus den verbleibenden Elementen der Glühbirne benötigt.
- Eine Aluminiumleiterplatte auf einer wärmeleitenden Masse garantiert die notwendigen Temperaturbedingungen für den Betrieb der Chips, indem sie Wärme direkt von den Chips zum Kühlkörper abführt.
- Chips - in der Tat ist dies der Beleuchtungsmechanismus, mit anderen Worten - Dioden.
- Der Diffusor ist eine Glashalbkugel, deren Lichtstreuungsgrad zum Maximum tendiert.

LED-Lampengerät
Das Funktionsprinzip von LED-Lampen ist für einen einfachen Laien ziemlich kompliziert und unübersichtlich. Kurz gesagt, das Leuchten entsteht durch die Freisetzung von Photonen aufgrund der ständigen Veränderung und Rekombination von Elektronen, gefolgt von einem Übergang zu anderen Energieschichten. Der unterbrechungsfreie Ablauf des Prozesses wird durch die Halbleitermaterialien der Chips gewährleistet. Um optimale Betriebsbedingungen für das gesamte Gerät als Ganzes zu gewährleisten, werden verschiedene Widerstände oder Strombegrenzungsmechanismen verwendet.
Einige Hersteller versuchen heute, verbesserte Technologien zum Erzeugen eines Glühens einzuführen, insbesondere verwenden sie spezielle Diodenbrücken. Die Kosten für solche Glühbirnen sind im Vergleich zu anderen LEDs etwas höher, aber die Qualität entspricht voll und ganz dem Preis.
Und das ist interessant!

* Bis zu 50 % Rabatt für unsere Leser! Das Angebot ist begrenzt.
Warum blinkt die ausgeschaltete Energiesparlampe?
Die Hintergrundbeleuchtung blinkt, wenn die angesammelte Ladung nicht ausreicht
Der häufigste und erschreckendste Nachteil bei der Verwendung von LEDs ist, dass die Energiesparlampe im ausgeschalteten Zustand flackert. Dieses "nicht standardmäßige" Verhalten hat drei Hauptgründe. Um das Problem zu beheben, müssen Sie verstehen, welches Problem vorliegt.
Beleuchtung am Schalter
Schalter und Schalter sind oft mit mehrfarbiger Beleuchtung verziert. Sie verwenden eine kleine LED oder Glühbirne mit Neonfüllstoff, die Funktionalität und Komfort hinzufügen - der Mechanismus ist im Dunkeln leichter zu finden, wenn eine zusätzliche Beleuchtung vorhanden ist.Es gab jedoch ein Problem mit dem Flackern - auf dem Kondensator sammelt sich eine Stromladung an, die im Dunkeln eine Reaktion hervorruft.
Das Arbeitsschema ist wie folgt:
- Im Moment des Schließens des Stromkreises wird der Strom vollständig zur Lampe umgeleitet.
- Nachdem die Kontakte getrennt sind, fließt der Strom zur Hintergrundbeleuchtungs-LED, aber ein kleiner Teil sammelt sich auf dem Glühlampenkondensator.
- Ist genügend angesammelt, beginnt nach dem Einschalten die Leuchtstofflampe zu blinken.
- Der Zyklus kann wiederholt werden, solange Strom zugeführt wird und die Teile funktionsfähig bleiben.
Verkabelungsprobleme
Verdrahtungsprüfung
Ein weiterer Grund ist eine Fehlfunktion, die bei der Verkabelung aufgetreten ist. Gleichzeitig spielen die Quellen keine Rolle - veraltete Geräte, Verletzung der Integrität der Drähte, Verdrahtungsfehler. Eine häufige Option ist das falsche Öffnen des Stromkreises auf Null und nicht auf Phase. Die Korrektheit der Verbindung wird vom Master überprüft. Sie können selbst eine Studie durchführen, benötigen jedoch bestimmte Kenntnisse und Geräte zum Messen der Spannung (einen speziellen Zeiger oder elektrische Klemmen).
Bei der Arbeit ist es wichtig, den allgemeinen Zustand der Verkabelung zu berücksichtigen. Die Einhaltung der Sicherheitsvorschriften und -anforderungen ist obligatorisch
Lampe von schlechter Qualität
Beim Kauf einer Lampe müssen Sie auf Integrität und Leistung prüfen.
In den meisten Fällen ist die Ursache des Problems billige oder fehlerhafte Ausrüstung - Lampen, Leuchten, Wandlampen, Kronleuchter. Um Geld zu sparen, kaufen Käufer Geräte von zweifelhafter Qualität zu Niedrigstpreisen. Die meisten dieser Geräte entsprechen nicht den aktuellen Standards und GOSTs. Beachten Sie beim Kauf folgende Punkte:
- die Unversehrtheit des Pakets;
- Ruf des Herstellers und Verkäufers;
- Leistungscheck vor dem Kauf.
Für Wohnräume wird warmes, ruhiges Licht und für Nichtwohnräume kaltes Tageslicht gewählt. Kompaktleuchtstofflampen werden bevorzugt, aber die endgültige Wahl wird auf der Grundlage der spezifischen Situation getroffen.
Warum leuchtet oder blinkt die Lampe?
Eine der häufigsten Ursachen ist die Hintergrundbeleuchtung des Schalters. LEDs sind empfindlich
Ultra-Low-Ströme und Pickups, und die Elemente des Schalters mit Beleuchtung lassen schwache Ströme passieren, auch wenn
Aus-Zustand. Der zweite, ebenfalls sehr häufige Grund ist, dass der Schalter Null statt Phase öffnet.
Gebrochene Null hat in der Regel eine kapazitive Verbindung mit der umgebenden Verkabelung und dadurch
parasitäre Ströme auftreten.
Die Situation, in der der Schalter Null durchbricht, ist in der Verkabelung der Sowjetzeit allgegenwärtig.
Dieses Phänomen ist so häufig, dass es manchmal so aussieht, als wäre es absichtlich geschehen. Lass mich dich errinnern
Bei der "richtigen" Verkabelung sollte der Schalter die Phase unterbrechen. Gebrochene Null macht übrigens
Glimmindikator-Schraubendreher daran befestigt. Ähnlich wie ein Indikator-Schraubendreher, manchmal eine Glühbirne
Bruchteile von einem Milliampere reichen für ein schwaches Leuchten.
Warum leuchten einige Lampen schwach, während andere flackern? Das liegt meist am Design
Lampentreiber, der in der Basis versteckt ist. Es wird angenommen, dass eine Blinklampe einen besseren Treiber hat,
und das "schwelende" ist billiger. Über die Zuverlässigkeit ist hier schwer zu sagen, beide brennen aus.

Nebenschlusswiderstand
Sie können das Blinken bekämpfen, indem Sie den Stromkreis mit einem bestimmten Widerstand überbrücken. Nehmen Sie dazu einen Widerstand mit einem Widerstandswert von 1 mΩ und einer Leistung von 0,5 bis 2 W.


Danach hört Ihre Lampe auf zu blinken.

Wenn Ihre Anschlussdose versteckt ist und kein Zugriff darauf besteht (obwohl dies bereits eine Verletzung ist) oder kein freier Platz darin vorhanden ist, kann der Widerstand direkt an die Phasen- und Neutralleiter des Kronleuchters gelötet werden. Verstecken Sie dann die Enden in der Klemmleiste.
Die Methode hat einen großen Nachteil.
Darüber hinaus berücksichtigen moderne elektronische Zähler in einer Wohnung den Energieverbrauch für den Heizwiderstand, und Sie zahlen letztendlich nicht nur für die Beleuchtung, sondern auch für dieses „Upgrade“.
Eigenschaften der LED-Lampe
Das Design dieses Lampentyps ist komplizierter als das eines Analogs mit Glühfaden. Das Funktionsprinzip basiert auf der Rekombination von Elektronen und Löchern mit Übertragung auf ein anderes Energieniveau, was zu einem Leuchten führt, das eine Folge der Freisetzung von Photonen ist.
Diese Prozesse werden durch die Verwendung bestimmter LED-Halbleitermaterialien erleichtert.
Um zu verstehen, warum LED-Lampen an sind, wenn das Licht aus ist, müssen Sie sich ihre Struktur ansehen. Die Geschäfte bieten Beleuchtungen in verschiedenen Größen und Formen an. Auch die innere Struktur ist anders.
Wahrscheinlich hat jeder große Unterschiede in der Preiskategorie dieses Produkts bemerkt, von 100 Rubel bis zu tausend. Es sind die Eigenschaften des Geräts, die eine so große Bandbreite bestimmen.
Ein Strombegrenzungselement wird verwendet, um akzeptable Betriebsbedingungen für die Lampe sicherzustellen. In einfacheren Schaltungen wird dazu ein Widerstand verwendet.
Höherwertige Leuchtmittel arbeiten nach einem anderen Prinzip: Die Schaltung basiert auf einer Diodenbrücke, die die Netzspannung gleichrichtet und den in Reihe geschalteten LEDs zuführt.
Einer der Hauptunterschiede zwischen moderner Beleuchtung und herkömmlicher Glühlampenbeleuchtung ist eine Konstantstromversorgung, solche Schaltungen werden gleichgerichtet genannt.
- Die LED-Lampe hat folgende Komponenten:
- Glasdiffusor;
- eine Platine mit daran befestigten Dioden;
- Kühler;
- Vorschaltgerät mit Kondensator;
- Sockel.
Am Treiber befindet sich ein Kondensator, der Energie umwandelt und speichert. Dann wird der Strom durch die Schaltung zur Platine geleitet, von dort zu den Chips und Dioden. Eine hochwertige LED-Lampe hat ein etwas anderes Funktionsprinzip.
Basis ist eine Diodenbrücke, sie versorgt die LEDs in Reihenschaltung mit Energie. Solche Quellen stören sich nicht an einem schwachen Leuchten, nachdem der Schalter ausgeschaltet wurde.
Verwechseln Sie eine LED-Lampe nicht mit einer Leuchtstofflampe. Es sind leuchtende Lichtsender, die als energiesparend bezeichnet werden. Meistens können sie durch Spiralkolben unterschieden werden. Sie werden beim Einschalten allmählich heller, und es gibt keine Probleme mit dem Leuchten, wenn der Schalter ausgeschaltet ist.
Die Wirkung einer brennenden Glühbirne nach dem Ausschalten
Für diejenigen, die ein leichtes Nachtglühen haben, das keine Beschwerden verursacht, stellt sich eine andere Frage, aber ist es sicher? Und wie wirkt sich das auf den Energieverbrauch aus? Bei glimmendem Licht besteht keine Gefahr. Die Lampe wird mitten in der Nacht nicht platzen, wird nicht brechen. Burnout ist möglich, aber äußerst selten.
Der Hauptnachteil der Tatsache, dass LED-Lampen leuchten, wenn der Schalter ausgeschaltet ist, ist die schnelle Erschöpfung des Strahlers. Fakt ist, dass die Schaltung auf eine bestimmte Anzahl von Anläufen und Brenndauer ausgelegt ist. Daher wird die Glühbirne nach zwei Monaten fast ununterbrochenen Glühens unbrauchbar.
Damit Sie das Problem des glimmenden Lichts in Zukunft nicht mehr stört, müssen Sie die richtigen Beleuchtungskörper und Schalter auswählen.Zunächst sollten Sie sich auf bekannte und vertrauenswürdige Hersteller konzentrieren.
Achten Sie auf die Proportionalität der Leistung und des Strahlers des Lichtsenders. Wenn der Strahler klein ist und die Lichterzeugung ziemlich stark ist, sollten Sie diesen nicht nehmen. Aluminiumheizkörper sollten bevorzugt werden
Wenn die Frage nicht grundlegend ist, ist es besser, den Schalter ohne Hintergrundbeleuchtung zu nehmen
Aluminiumheizkörper sollten bevorzugt werden. Wenn die Frage nicht grundlegend ist, ist es besser, den Schalter ohne Hintergrundbeleuchtung zu nehmen.
Die Hauptursachen des Problems
Schwache oder oxidierte Kontakte können beim Einschalten des Schalters ein Knistern verursachen.
Das Knacken kann einem Summen oder Summen ähneln. Es gibt mehrere Gründe für eine Panne.
Kontaktoxidation
Wenn die Kontakte des Geräts mit Ruß bewachsen oder oxidiert sind, entsteht im Moment ihrer Annäherung ein Lichtbogen. Die Ursache der Funkenbildung wird durch die Größe des Rußes erschwert. Wenn sich an den Endplatten Prozesse bilden, kann die Verkabelung Feuer fangen, d. h. die Kontakte schließen.
Lockerung einsetzen
Die Feder, die im Moment des Einschaltens auf den Kontakt drückt, wird schwächer - das charakteristische scharfe und klare Klicken ist nicht mehr zu hören. Das Problem wird durch das sanfte Einschalten des Geräts und die Notwendigkeit angezeigt, die Taste zu drücken, damit das Licht erscheint. Die Gefahr besteht darin, dass der Schalter ständig Funken schlägt, wodurch Brandgefahr entsteht.
Nichtübereinstimmung der Lampenleistung mit den Kontakten
Eine Halogenlampe oder eine Hochleistungs-LED-Quelle belastet die Kontakte. Der einfachste Weg, das Problem zu lösen, besteht darin, den Schalter durch einen zu ersetzen, der der Beleuchtungsleistung entspricht.
Schlechte Qualität der Kontakte und Platten
Ein Aufschlüsselungsmerkmal von Budgetmodellen.Der Knopf arbeitet nach dem Prinzip des Sanftanlaufs, der in Kombination mit Maschinen mit geringer Leistung Funken hervorruft.
Andere Ursachen für Kontaktfehler
Hohe Luftfeuchtigkeit führt zu Oxidation der Schaltkontakte
Zu den Faktoren, die Funken und Knistern provozieren, gehören auch:
- hohe Luftfeuchtigkeit - aktiviert die Oxidationsreaktion;
- falsche oder instabile Verbindung der Adern;
- erhöhte Belastung der Kontakte - es gibt ein Summen;
- ständige Spannungsschwankungen.
Unterbrochene Kontakte führen zum Ausfall von Haushaltsgeräten.
Das ist interessant: Halogenlampen durch LED im Badezimmer ersetzen
Alte elektrische Leitungen
Nachdem Sie sich von der normalen Stromversorgung und der Funktionsfähigkeit der installierten Beleuchtungskörper überzeugt haben, können Sie damit beginnen, die elektrische Verkabelung auf Qualität und Unversehrtheit zu überprüfen. In den Häusern des Altbestands werden Schrumpfungen und teilweise Zerstörungen beobachtet, die die Unversehrtheit der elektrischen Verkabelung verletzen können.
Dadurch kommt es zu vorübergehendem Verschleiß und Unterbrechung der Kontaktverbindungen der Versorgungskabel in den Anschlussdosen. Wenn bei einer Sichtprüfung ein schwacher Kontakt am Twist festgestellt wurde, muss dieser nachgezogen werden.
Wenn es verbrannt ist, können Sie nicht auf die Reinigung verzichten. Im Normalzustand der Anschlusskästen müssen Sie die Verbindungspunkte der elektrischen Kabel in der Schalttafel zum Signalgeber und zur Nullstange überprüfen.
Fehlfunktionen der elektrischen Verkabelung werden seltener beobachtet. Zerbrechliche Aluminiumdrähte neigen dazu, beim Biegen zu brechen.Während der Installation kann die Kabelseele brechen, wodurch sich die Verkabelung unter dem Einfluss einer elektrischen Last erwärmt, was zu einem Brand oder Kurzschluss führen kann. Sie können das Problem lösen, indem Sie das elektrische Kabel im fehlerhaften Abschnitt des Stromkreises austauschen.
Wenn es nicht möglich ist, das elektrische Kabel zu ersetzen, verwenden Elektriker eine Schraubverbindung an der Bruchstelle.Experten auf dem Gebiet der Elektriker empfehlen, die elektrische Verkabelung nicht teilweise durch Gebäudekabel zu ersetzen.
Diese Art der Reparatur ist bei Beleuchtung mit geringer Leistung zulässig. In diesem Fall wird das Anschließen der Steckdose an das Beleuchtungsgerät nicht empfohlen.
Störungen im Stromversorgungssystem
Wenn das Licht in einer Wohnung oder einem Haus blinkt, müssen Sie zuerst die Qualität der Stromversorgung des Raums überprüfen. Die Quelle flackernder Beleuchtung kann eine Instabilität im Stromnetz sein, die einen sich ändernden Wert erzeugt. Flackern kann auch das Ergebnis eines Lampenausfalls oder eines anderen elektrischen Haushaltsgeräts sein, das durch einen Spannungsabfall beeinträchtigt wurde.
Wenn die Spannungseinbrüche nicht konstant, sondern kurzzeitig sind, schadet dies elektrischen Haushaltsgeräten mit eingebautem Schutz nicht. Es sollte jedoch berücksichtigt werden, dass infolge einer starken Überspannung die Möglichkeit von Notfallsituationen im Stromnetz besteht.
Meistens tritt das Blinken des Lichts aufgrund einer Verletzung des Kontakts der Verbindung des Nullträgerleiters auf der Stütze von Freileitungen auf.Die Beleuchtungswelligkeit dauert die gesamte Zeit bis zum Verschwinden des Kontakts, wodurch die Lastasymmetrie eine Phasenunsymmetrie verursacht. Der Versatz ist direkt proportional zum Unterschied in den Lasten jeder Phase, wie durch die erhöhte oder verringerte Spannung verschiedener Leitungen angezeigt wird.
Immobilienbesitzer sollten berücksichtigen, dass Haushaltsgeräte ohne installierten Schutz vor Überspannungen und ungeplanten Abschaltungen ausfallen können
Es ist wichtig zu berücksichtigen, dass einige elektrische Haushaltsgeräte ursprünglich nicht für den Betrieb mit reduzierter Spannung ausgelegt sind, was die Eigenschaften und die Funktionalität der Geräte beeinträchtigt.
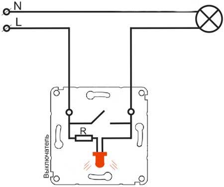
Beleuchteter Schalter

Die meisten modernen Schalter haben oft eine Neon- oder LED-Beleuchtung mit einem Widerstand, der als Anzeige dient, um anzuzeigen, dass der Schalter nachts ausgeschaltet ist. Sie helfen natürlich, den Schalter im Dunkeln zu finden, aber in Kombination damit beeinträchtigen sie den Start der Glühbirne mit LEDs und verringern dadurch ihre Lebensdauer um 20–30%.
Tatsache ist, dass bei Verwendung eines hintergrundbeleuchteten Schalters tatsächlich ein solcher Stromkreis erhalten wird, wie in der folgenden Abbildung gezeigt. Aufgrund der Tatsache, dass die LED-Lampe eine Diodenbrücke mit einem Kondensator am Eingang hat, fließt ein Strom durch den Hintergrundbeleuchtungskreis und lädt diesen Eingangskondensator allmählich auf. Nachdem der Kondensator ausreichend aufgeladen ist, um den Treiber zu starten, gibt er die angesammelte Energie weiter an den Lampentreiber ab und beginnt zu leuchten. Fast sofort hört das Leuchten auf, da sich die Ladung aufgrund der Geringfügigkeit des Hintergrundbeleuchtungsstroms des Schalters gering ansammelt.Dann wird der Ladevorgang des Eingangskondensators erneut wiederholt. Optisch sieht dieser sich wiederholende Vorgang wie ein Blinzeln aus.

Neben dem Flimmern reduziert dieser negative Faktor die Lebensdauer der Glühlampe erheblich, da weder der Elko noch der Treiber für einen solchen Betrieb ausgelegt sind (außer bei Verwendung speziell dafür ausgelegter Leuchtmittel).
Wie zu beseitigen
Sie können das Problem auf 4 verschiedene Arten lösen:
- Verwenden Sie eine flimmerfreie LED-Lampe;
- Installieren Sie einen zusätzlichen Schutz an der Lampe, die sogenannte Schutzeinrichtung gegen spontanes Einschalten;
- Entfernen (schalten) Sie die LED-Anzeige des Schalters;
- Installieren Sie einen Shunt-Widerstand (es kann eine Glühlampe sein).
Wenn die 1. und 2. Methode keine zusätzlichen Kommentare erfordern, sollten die 3. und 4. Methode genauer betrachtet werden.
Entfernen der LED-Anzeige (Neon).

Je nach Design ist es notwendig, um das Blinken von LED-Lampen zu beseitigen:
- Schalten Sie den Leistungsschalter aus, der die Beleuchtungskreise mit Strom versorgt;
- Prüfen Sie die Spannungsfreiheit;
- Holen Sie sich den Schaltmechanismus;
- Entfernen Sie den Blinker, indem Sie seine Spitzen von den Beleuchtungskreisen trennen;
- Installieren Sie es an Ort und Stelle und überprüfen Sie den Betrieb der LED-Lampe im eingeschalteten Zustand.
Es gibt auch Situationen, in denen das Design des Schalters das Entfernen des Blinkers nicht zulässt. In solchen Fällen hilft Ihnen die folgende Methode.
Installieren eines zusätzlichen Widerstands (Shunt-Widerstand)

Wenn die Lampe blinkt, obwohl Sie die Anzeige entfernt haben, müssen Sie einen Shunt-Widerstand löten.
Ein Shunt (Shunt-Widerstand) ist ein leistungsfähiger Widerstand, der die an den Anschlüssen der LED-Lampe auftretende Potentialdifferenz (Spannung) dämpft. Wenn der Schalter ausgeschaltet ist.
In den meisten Fällen sind die Eigenschaften wie folgt: Leistung - 2 W, Widerstand - 50 Ohm.
Zu den Nachteilen dieses Verfahrens gehört auch die Freisetzung von mehr Wärme am Widerstand, wodurch bei ausgeschaltetem Schalter die Möglichkeit eines Brandes besteht. Dazu muss der Shunt entweder zusätzlich mit Schrumpfschlauch geschützt und in einer feuerfesten Anschlussdose installiert oder parallel zur LED-Lampe in der Lampenfassung montiert werden.

Verwendung einer Glühlampe als Shunt
Wenn die Lampe nach dem Ausschalten blinkt, können Sie dieses Problem am einfachsten beheben, indem Sie die gewöhnlichste Glühlampe in eine freie Fassung einer Lampe oder eines Kronleuchters einbauen.
In diesem Fall dient der Glühfaden der Glühlampe als Shunt, wodurch die Lampe aufhört zu blinken. Für diese Zwecke ist eine Glühlampe mit geringer Leistung von 25-40 Watt ideal.
Allerdings ist diese Option recht selten, denn bei eingeschalteter Beleuchtung verbrauchen solche Lampen recht viel Strom, was in keiner Weise mit den verwendeten LED-Lampen vereinbar ist.
Welche Probleme verursacht induzierte Spannung?
Der Begriff induzierte Spannung wird verwendet, um das Potenzial elektrischer Energie zu definieren, die durch elektromagnetische Umwandlung von spannungsführenden Geräten an einen geschlossenen Stromkreis übertragen wird.
Darin beginnt ein Entladestrom zu fließen.Ich habe diese Prozesse mit einem vereinfachten Bild gezeichnet, das die elektromagnetische Transformation mit dem Symbol eines Transformators zeigt.
Fahrradfahren half mir zu fühlen, was es ist. Bei nassem Wetter kehrte ich über eine gut erprobte Strecke zurück. Auf ihr kreuzt die Autobahn die bestehende 330-kV-Freileitung.
Bis zu diesem Moment war ich viele Male bei trockenem Wetter ohne jegliche Empfindungen gefahren, und die Feuchtigkeit spielte einen grausamen Scherz: Eine kleine, aber durchaus spürbare Entladung musste mit meinem ganzen Körper gefühlt werden.
In ähnlicher Weise können Stromkabel, die parallel oder neben Beleuchtungskreisen verlegt sind, zusätzliche Spannung zu den LEDs induzieren.
Unter der Wirkung des angelegten Potentials flackern sie. In dieser Situation kann eine Abschirmung als Sonderfall retten.
Es ist jedoch besser, Störungen bereits in der Konstruktionsphase auszuschließen, um das nahe Verlegen von Hochspannungskreisen, den Betrieb von starken Verbrauchern wie Schweißmaschinen und ähnlichen Geräten zu verhindern.
Merkmale zum Zerlegen des Geräts und zum Reinigen von Kontakten
Wenn der Dimmschalter für die Lichtlinie beim Einschalten kurzschließt, müssen Sie die Kontakte zerlegen und reinigen. Die Arbeiten werden wie folgt durchgeführt:
- Entfernen des Einstellknopfes. Sie müssen halbkreisförmige Teile oder Schlitze entfernen. Halten Sie den Körper mit einer Hand und ziehen Sie vorsichtig mit der anderen am Griff.
- Entfernen der Montage-Kontermutter oder -schrauben. Arbeiten Sie mit einem Schraubendreher und drehen Sie ihn gegen den Uhrzeigersinn.
- Entfernen der Kunststoffverkleidung und des Rahmens.
- Lockerung der inneren Befestigungen des Dimmermechanismus.
- Entfernen des Schalters aus der Steckdose.
Kontakte haben die Form von Halbkugeln. Wenn Ruß gefunden wird, reinigen Sie die Elemente mit Schleifpapier bis sie glänzen.Wenn die Kohleablagerungen nicht vollständig entfernt werden, werden die Kontakte mit einer Schraubendreherspitze gereinigt.
Bevor Sie das Gehäuse vollständig zusammenbauen, ist es besser zu sehen, ob die Adern fest angezogen sind.
Wenn das LED-Licht schwach wird
Die Situation, in der die LED-Lampe schwach leuchtet, kommt für Verbraucher oft überraschend. Sie kauften eine Lichtquelle mit fortschrittlicher Technologie und erwarteten, dass sie einen hellen und starken Lichtstrahl erzeugen würde. Wir werden die Hauptgründe dafür untersuchen, warum das LED-Licht weniger hell als erwartet ist, und Möglichkeiten vorschlagen, dies zu ändern.
Die LED-Lampe begann aufgrund der niedrigen Spannung schwach zu leuchten
Auf der Suche nach einer Antwort darauf, warum die LED-Lampe schwach leuchtet, sollte zuerst geprüft werden, ob das Spannungsniveau im Netzwerk ausreicht. Das Beleuchtungsgerät wird mit Wechselstrom betrieben, sodass bei Spannungsabfall auch eine hochwertige Lampe mit guter Haltbarkeit nicht mit voller Kraft strahlt.
Dies lässt sich leicht überprüfen - schließen Sie einfach ein anderes Gerät an das Wechselstromnetz an. Wenn diese LED-Lampe auch schwach zu leuchten begann, liegt dies an der Unterspannung. Dieses Problem ist typisch für Vorstadtwohnungen. Sie lösen es, indem sie einen Stabilisator an Licht und Steckdosen anbringen.
Natürlicher Abbauprozess von LEDs
Jede LED-Lampe oder LED-Leuchte mit eingebautem Lichtmodul fängt irgendwann an, weniger hell zu strahlen.
Dies ist auf die Degradation von LEDs zurückzuführen – ein natürlicher Prozess, wenn die Elemente technisch nicht mit voller Leistung arbeiten können.
Dies wird anhand von Informationen auf der Produktverpackung überprüft, wo der Hersteller den Zeitraum der voraussichtlichen Degradation von LED-Komponenten angibt.Wenn der Zeitraum mit dem Zeitraum zusammenfällt, in dem die Lampe schwach zu leuchten begann, muss sie ersetzt werden.
Die LED-Lampe leuchtet aufgrund falscher Leistungsauswahl schwach
Dies passiert beim Austausch einer alten Lampe in einer Leuchte mit LED-Lichtquelle, aber mit falscher Leistungsauswahl.
Die LED-Lampe wird wie andere Lichtquellen nach Herstellerempfehlung auf das Beleuchtungsgerät abgestimmt. Wenn die LED-Lampe schwach leuchtet und die Lampe kürzlich installiert wurde, müssen Sie die Informationen auf dem Gerät überprüfen.
Dieses Problem wird gelöst, indem die LED-Lampe durch eine ähnliche ersetzt wird, jedoch mit den richtigen Eigenschaften.
Leuchte mit falscher Montage oder minderwertigen Komponenten
Wenn die Netzspannung korrekt ist, die Lampenleistung richtig ausgewählt ist und es zu früh ist, um über die natürliche Verschlechterung von LEDs zu sprechen, liegt das Problem höchstwahrscheinlich in der Qualität der Beleuchtungsprodukte.
Daher ist es wichtig, beim Kauf einer LED-Lampe oder Lichtquelle auf Produkte von vertrauenswürdigen Herstellern zu achten – zum Beispiel LED-Lampen von Arlight. Sie werden nach internationalen Standards hergestellt, sind zertifiziert und haben eine Garantiezeit.
Sie werden nach internationalen Standards hergestellt, sind zertifiziert und haben eine Garantiezeit.
Sie werden nach internationalen Standards hergestellt, sind zertifiziert und haben eine Garantiezeit.
Eigenständige Suche nach der Störungsursache
Wenn die in einer Lampe oder einem anderen Produkt verwendete Energiesparlampe zu blinken beginnt, müssen Sie sofort mit der Behebung des Problems beginnen. Da jedes Beleuchtungsgerät eine Ressourcengrenze für die Anzahl der Einschlüsse hat.
Das heißt, jeder dieser Zyklen verringert die Betriebszeit, und wenn sie häufig wiederholt werden, verringert sich die Lebensdauer in nur wenigen Tagen um viele Monate oder sogar Jahre. Darüber hinaus kann, wie oben erwähnt, bei fehlerhafter Verkabelung die Gesundheit des Hausbesitzers, seiner Familie und Freunde gefährdet werden, was nicht zulässig sein sollte.
Die Fehlersuche sollte nur von einem geschulten Meister und mit einem Spezialwerkzeug unter Einhaltung aller in den maßgeblichen Dokumenten vorgesehenen Sicherheitsmaßnahmen durchgeführt werden
Sie sollten die Fehlerbehebung mit den einfachsten Methoden beginnen, die keine Kosten verursachen. Und wenn sie kein Ergebnis liefern, fahren Sie mit komplexeren fort.
Zunächst müssen Sie also die Leistung der Glühbirne selbst überprüfen. Warum kann es an einem anderen Ort neu angeordnet werden, getestet mit Nachbarn, Bekannten. Wenn das Blinken anhält, müssen Sie nur das Beleuchtungsgerät ersetzen.
Wenn nach der Installation der Lampe an einem neuen Ort die Fehlfunktion nicht auftritt, sollte der Schalter ausgetauscht werden. Um kein Geld zu verschwenden, können Sie es zum Testen von einem anderen Ort mitnehmen und vorzugsweise ohne Hintergrundbeleuchtung. Wenn die Ursache identifiziert ist, sollten Sie einfach einen neuen Schalter kaufen und installieren.
Wenn dies nicht funktioniert, sollte der Eigentümer der Räumlichkeiten nach einem Problem in der Verkabelung suchen.
Aber wenn Sie elektrische Arbeiten ausführen, ist es wichtig, sich daran zu erinnern, dass sie alle potenziell gefährlich sind. Daher ist es notwendig, Maßnahmen zur Vorbeugung und Vorbeugung von Risikosituationen einzuhalten, über ausreichende Fähigkeiten und das geeignete Werkzeug zu verfügen.Um den Grund für das Leuchten der LEDs nach dem Ausschalten herauszufinden, helfen die Informationen im folgenden Artikel, in dem alle Optionen für das Auftreten solcher Situationen sowie Möglichkeiten zu deren Beseitigung und Vermeidung analysiert werden
Um den Grund für das Leuchten der LEDs nach dem Ausschalten herauszufinden, helfen die Informationen im folgenden Artikel, in dem alle Optionen für das Auftreten solcher Situationen sowie Möglichkeiten zu deren Beseitigung und Vermeidung analysiert werden.
Das ist interessant: Wie zu finden Drahtbruch in einer Betonwand? (Video)
Blinken im geöffneten Zustand des Schalters
Schema einer Energiesparlampe
Die LED-Leuchte ist mit elektronischen Konvertern und an ihren Ausgängen angeschlossenen Dioden ausgestattet. Beim Anlegen einer Spannung an die Schaltung wird diese bei weiterer Versorgung der LEDs auf den gewünschten Wert gewandelt.
Wenn der Stromkreis keine transformatorlose Stromversorgung bietet, werden Impulsrauschen nicht eliminiert und es besteht keine galvanische Verbindung von den Leitungen. Ohne Elko ist es auch nicht möglich, Welligkeiten zu glätten.
An die Sensorkontakte sind zusätzliche Schaltkreise angeschlossen - Hintergrundbeleuchtung, Strombegrenzung. Beim Ändern der Position der Kontaktgruppe des Schalters oder Relais wird die Lampe ständig mit Strom versorgt. Der normalerweise geschlossene Zustand der Kontakte trägt zur Versorgung der Lichtquelle mit einer Spannung von 220 V bei. In der normalerweise offenen Position wird ihr der Strom der Hintergrundbeleuchtung oder des Funkenlöschkreises zugeführt. Sie verursachen den Blinkeffekt.
Die Hauptgründe für die Arbeit im Notbetrieb
Der Hintergrundbeleuchtungsmodus des Schalters kann dazu führen, dass das LED-Licht blinkt.
Zur Stromversorgung des Haushaltsnetzes wird Wechselstrom verwendet.In diesem Fall bleibt die LED, die mit einem Gleichrichter mit Filter ausgestattet ist, intakt. Beim Spannungsaufbau wird ein Blinken beobachtet.
Das Phänomen kann einen anderen Grund haben:
- Falscher Schaltplan. Null geht zum Schalter, Phase - zur Lampe, Null ist geerdet.
- Das Vorhandensein eines Hintergrundbeleuchtungsmodus auf dem Schalter.
- Die Nähe von Geräten mit einem starken Magnetfeld - einem Radiosender, einem großen Fernseher, Mobilfunkmasten.
- Verlegen von Kabeln in einer feuchten Wand.
- Das Vorhandensein mehrerer Kabel im Blitz.
Flackern aufgrund der Hintergrundbeleuchtung des Schalters
Schaltplan für LED- und Neonlichter
Die Hintergrundbeleuchtung der Deckenlampe, kombiniert mit der Helligkeitsanzeige, provoziert Blitze der Diodenleistung. Um den Grund zu verstehen, müssen Sie das Design des Geräts verstehen.
Die Hintergrundbeleuchtung verfügt über Widerstände und Dioden, sodass beim Ausschalten keine Kontaktunterbrechung auftritt. Der Widerstand lässt eine kleine Menge Strom durch und sammelt ihn im Kondensator. Nach dem Überlauf treten Differenzströme in die Leuchte ein. Die Strommenge reicht zum Einschalten nicht aus, daher blinkt die Lampe regelmäßig.
Blinken wegen Netzspannung
Eine häufige Ursache für eine Fehlfunktion sind niedrige Spannungseinstellungen. Die Spannung von 220 V reicht für ein qualitativ hochwertiges Glühen einer Quelle mit eingebautem Treiber nicht aus. Das Phänomen ist typisch für Lampen, die über einen Dimmer angeschlossen sind. Ohne Unterstützung dieses Parameters arbeitet der Dimmer nicht mit voller Leistung, es tritt ein Flackern auf. Das Problem kann gelöst werden, indem die Bewertung angepasst oder ein Stabilisator installiert wird.
Nur Lampen mit einer Nennspannung von 180-250 V funktionieren ohne Blinken.
Vorhandensein von Leckstrom
Der Gleichrichter am Treibereingang ist als Diodenbrücke mit Siebkondensator ausgeführt.Während des Betriebs bleibt es zum Laden aktuell. Nachdem sich eine ausreichende Menge angesammelt hat, beginnt sich der Überschuss auszubreiten und verursacht Ausbrüche. Leckage tritt auch durch minderwertige Isolierung von Leitern auf, die zum Schalter führen. Der Fluss eines kleinen Stroms führt zu Flackern, Schmelzen der Verkabelung und Notsituationen.
Problem durch Verkabelung
Eine schlechte Verkabelung ist einer der Gründe dafür, dass die Glühbirne blinkt, wenn der Schalter ausgeschaltet ist.
Wenn die LED-Lampe im ausgeschalteten Zustand blinkt, liegt das Problem möglicherweise in der Qualität des Schaltplans. Beim Anordnen der Beleuchtungslinie wird die Phase von der Box zum Schalter geführt, Null - zur Lampe. In einer verwirrten Position wird der Kondensator kontinuierlich geladen und die Aus-LED blinkt.
Wird das Schema befolgt, zeigt eine blinkende Lampe die induzierte Spannung an. Es können andere Kabel zusammen mit den Drähten der Beleuchtungskörper vorhanden sein. Um das Phänomen zu beseitigen, müssen Sie die Verkabelung vollständig ändern.
Befindet sich das Haus in einem Feuchtraum, wird zum Schutz vor Flimmern ein RCD eingebaut.
Schlechte Steckdose
In diesem Fall muss zunächst die Funktionsfähigkeit des verwendeten Beleuchtungsgeräts überprüft werden, indem es an eine funktionierende Steckdose angeschlossen wird. Wenn die Lampe aufhört zu blinken, ist die Originalsteckdose defekt. Bei negativem Ergebnis muss die Trennvorrichtung der Lampe überprüft werden. Die Prüfung erfolgt nach folgendem Grundsatz:
Die Spannung auf der Leitung wird entfernt, um Reparaturarbeiten durchzuführen.
Spannschrauben dürfen die Drähte in der Anschlussdose halten.
Es wird eine Sichtprüfung durchgeführt, wobei besonders auf den Zustand der elektrischen Leitungen geachtet wird.
Wenn keine Anzeichen von Blinklicht erkannt werden, werden die Spannschrauben angezogen, um einen zuverlässigen Kontakt zu gewährleisten.
Bei unbefriedigendem und instabilem Betrieb der Steckdose muss diese entfernt oder durch eine neue ersetzt werden.
Durch Schalter
Sie können auch den Pass-Through-Schalter anstelle des üblichen verwenden. In diesem Fall ist das Licht in einer Position eingeschaltet und die Hintergrundbeleuchtung in der zweiten. Die Glühbirne blinkt auch nicht.
Und schon keine Tipps bringen sie zum Leuchten. Richtig, hier müssen Sie auch einen Neutralleiter am Schalter ansetzen. Aber mit dieser Methode können Sie das Blinken beseitigen, auch wenn die Hintergrundbeleuchtung nicht die Ursache ist! (dies wird weiter unten besprochen).
Wenn Sie die Mehrkosten beim Kauf eines Pass-Through-Schalters nicht sehr stören und Sie sich nicht in den Dschungel mit der Auswahl geeigneter Widerstände und Kondensatoren verwickeln wollen, ist diese Methode die optimale.










































